This article is exclusively about the precious crystal: We report about a company that prints real, i.e. synthetic, diamonds, introduce you to a tutorial for 3D modeling of diamonds and show you a few selected 3D models to print yourself.
Features & Benefits
Not for nothing is it called “Diamonds are forever”, because diamond is one of the hardest materials ever. In general, carbon modification has many unique properties: Diamond has a high melting and boiling point, is an excellent heat conductor and an electrical insulator. Therefore, tools made of diamond, such as drills, saws or knives, can be more durable than those made of conventional materials due to the hardness of the raw material. And: There are diamond hotends!
Manufacture
In addition to the natural occurrence of diamonds, the solid has also been produced artificially since the mid-1950s. This can be done in different ways, for example by high temperatures and high pressure.
Diamonds from the 3D Printer?

Source: Google Patents
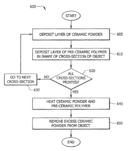
Lockheed Martin devoted himself to another manufacturing method for synthetic diamonds, which was also patented in 2016 by the US armaments and technology group: 3D printing of diamonds. The aerospace-focused company relies on the pyrolysis of a preceramic polymer in this manufacturing variant developed by David G. Findley. First, ceramic powder and preceramic polymer are applied alternately in layers and then dissolved in a special agent. Afterwards, the resulting object is heated until the polymer decomposes.

Source: Google Patents
According to Lockheed Martin, this combination of materials could be used to print a geometrically complex diamond drill, including brake pads, light armor, diamond dialysis filters and vacuum microelectronics.
When or if this technology will be used at all is not known yet, at least since the patent application more than two years ago there is no news from the company…
Source: Google Patents
How to Model a Diamond
If you want to print a diamond yourself – it’s enough to have a plastic one first – you can have a look at the tutorial by Youtuber “Ramesh B”, who designs a fancy diamond with Solidworks:
Diamond 3D Models
If you prefer to use already designed models for 3D printing, you will find a small selection here:
Classic

Source: Thingiverse, ButterfieldMech
Maker “ButterfieldMech” has really put his heart and soul into this circular diamond. First of all, he spent several days studying the interesting but complicated diamond cutting method until he finally started modeling his 3D model in Autodesk Fusion 360. All good things come in threes, because after the third attempt it finally worked.
Found on Thingiverse, Maker: ButterfieldMech
Lattice Model

Source: Thingiverse, plusalphaDesigns
This diamond lattice is suitable for visual purposes in educational institutions, but it also decorates desks. But beware: Removing the supports takes time and patience.
Found on Thingiverse, Maker: plusalphaDesigns
Lamp

Source: Thingiverse, Oopee
It doesn’t always have to be a brilliant for the body. As you can see here, diamonds can also decorate our house. Maker “Oopee” is showing off with this lamp. It was printed in vase mode including cable duct.
Found on Thingiverse, Maker: Oopee
Ring

Source: Pinshape, mingshiuan
“Diamonds are the girl´s best friend”! And this variant is much cheaper than a real diamond ring…
Found on Pinshape, Maker: mingshiuan
Earrings

Source: Pinshape, Gleiberkid
This model shows the typical diamond structure to its best advantage. Do it like Maker “Gleiberkid” and integrate a small diamond into the larger lattice structure.
Found on Pinshape, maker: Gleiberkid. Price: 1,30$
Casket

Source: 3DShook
This fancy storage box in a diamond look needs just over 100 grams of filament and between six and ten hours of printing time before it is ready for use.
Found on 3DShook. Price: 7$
Flower Pot

Source: 3DShook
Nice! This diamond-shaped flowerpot you can attach to the wall. For the print you need about 100 grams of filament and you also should plan supports for it.
Found on 3DShook. Price: 7$
Game Pieces

Source: Thingiverse, GamesBros
Maker “GamesBros” made these diamond tiles for the board game “Colt Express” developed by Christophe Raimbault, but the tiles are also suitable for other games or as decoration. These were printed with a Prusa I3.
Found on Thingiverse, Maker: GamesBros






